- Úvod
- Nářadí pro kutily a modeláře
- Proxxon Modelářská sada, 28910
Proxxon Modelářská sada, 28910

- Kompletní specifikace
- Hodnocení 0
- Komentáře 0
Proxxon Modelářská sada, 28910skladem380 Kč/ ks314 Kč bez DPH
Modelářská sada 28910. Vrtací, frézovací, brusné a řezací nástroje v profi kvalitě.
Sada obsahuje 13 nástrojů, z toho: 2 ks MICRO vrtáků, 2 ks fréz, 2 ks brousků z korundu, 5 ks dělících kotoučů, 1 ks pilový kotouč a 1 ks upínací trn.
MICRO - Spirálové vrtáky (Ø 1 mm a 2,3 mm) jsou vyrobeny z vybrané kvalitní oceli. Účelná a stabilní konstrukce stopky a vrtáku z jednoho kusu. Optimální přesnost vystředěného běhu. Díky vhodné tvrdosti dlouhá životnost při zachování pružnosti. Na opracování kovů, barevných kovů, plastů, destiček tištěných spojů, měkkého a tvrdého dřeva. Pracovní otáčky: cca 8.000/min do měkkého materiálu, cca 3.000/min do tvrdého materiálu.
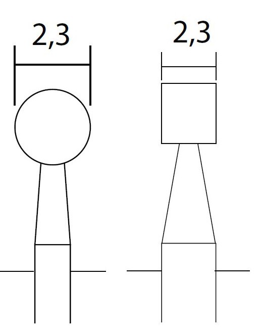
Stopkové frézy (tvar koule Ø 2,3 mm a válce Ø 2,3 mm) jsou vyrobeny z wolfram-vanadové oceli. Účelná a stabilní konstrukce stopky a frézy z jednoho kusu. Přesné ozubení a optimální přesnost vystředěného běhu při stejné houževnatosti. Na opracování měkkého a tvrdého dřeva, neželezných i ušlechtilých kovů, plastů a sádry. Optimální na tvarování, profilování a drážkování.
Brusná tělíska z ušlechtilého korundu (tvar koule Ø 5 mm a kužele Ø 7 mm) jsou vyrobeny z jemných materiálů a mají rovnoměrnou tvrdost. Na broušení a cizelování tvrdých obrobků, jako jsou železné litiny, ocelové litiny, temperované litiny, legované a šlechtěné oceli. Rozměrově přesné stopky zajišťují přesný vystředěný běh.
Korundem vázané dělící kotouče (celkem 5 ks, Ø 22 mm, tl. 0,7 mm) jsou vyrobené se speciálním pojivem. Na řezání legovaných a nelegovaných ocelí, ušlechtilé oceli a neželezných kovů. Hodí se však také na řezání dřeva a plastů.
Dělící pilový kotouč z pružinové oceli (Ø 22 mm, tl. 0,1 mm). Vhodný na plasty, dřevo a barevné kovy. Při ručním opracování doporučujeme použití ochranného krytu (obj. č. 28944).
Upínací trn (délka 44 mm, tl. 2,35 mm).
Stopka: Ø 2.35 mm









